1. Product design and manufacture according to ASMEB16.34 and RBS1873 standards, with structure, reliable sealing, excellent performance and beautiful appearance;
2, the surface welding Co hard table gold, wear resistance, corrosion resistance, abrasion resistance, long service life;
3. The valve stem is tempered and chlorinated on the surface, and has good corrosion resistance and abrasion resistance.
4, pressure ≥Class1500 Middle cavity adopts self-tightening seal structure, the seal increases with the increase of internal pressure, ensuring the reliability of the seal;
5. The valve is equipped with reverse sealing structure, which ensures reliable sealing;
6. The material of parts and the size of flange butt welding end can be selected according to the actual working conditions or user requirements, to meet various engineering needs.
Design specification :ASMEB16.34, BS1873
Structure length: ASMEB16.10
Connection flange: ASME B16.5
Test and Inspection: API598
Pressure-temperature: ASME B16.34
Nominal size: NPS 1/2"~12"
Pressure range: 150~900Lb
Operating temperature: ≤600℃
Main material: WCB, WC1, WC6, WC9, etc
Suitable medium: water, steam, oil, nitric acid, acetic acid, strong oxidizing medium, urea
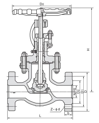
Product Dimensions
| Class | Size | L | D | Di | D2 | b | n-фd | Do | H | WT (Kg) | |
| 150Lb | 1/2" | mm | 108 | 89 | 60.5 | 35 | 12 | 4-15 | 125 | 169 | 3.8 |
| in | 4.25 | 3.5 | 2.38 | 1.38 | 0.47 | 4-0.59 | 4.92 | 6.65 | |||
| 3/4" | mm | 117 | 98 | 70 | 43 | 12 | 4-15 | 125 | 180 | 4.2 | |
| in | 4.61 | 3.86 | 2.76 | 1.69 | 0.47 | 4-0.59 | 4.92 | 7.08 | |||
| 1" | mm | 127 | 108 | 79.5 | 51 | 12 | 4-15 | 125 | 190 | 8 | |
| in | 5 | 4.25 | 3.13 | 2 | 0.47 | 4-0.59 | 4.92 | 7.48 | |||
| 1½" | mm | 165 | 127 | 98.5 | 73 | 14.3 | 4-16 | 180 | 347 | 13 | |
| in | 6.5 | 5 | 3.88 | 2.87 | 0.56 | 4-0.62 | 7.09 | 13.66 | |||
| 2" | mm | 203 | 152 | 120.5 | 92 | 15.9 | 4-19 | 180 | 356 | 21 | |
| in | 8.00 | 6.00 | 4.75 | 3.62 | 0.625 | 4-0.75 | 7.09 | 14 | |||
| 2½" | mm | 216 | 178 | 139.5 | 105 | 17.5 | 4-19 | 240 | 381 | 30 | |
| in | 8.5 | 7 | 5.50 | 4.12 | 0.69 | 4-0.75 | 9.45 | 15.00 | |||
| 3" | mm | 241 | 190 | 152.4 | 127 | 19.1 | 4-19 | 280 | 13 | 41 | |
| in | 9.5 | 7.50 | 6 | 5 | 0.75 | 4-0.75 | 11.02 | 16.25 | |||
| 4" | mm | 292 | 229 | 190.5 | 157 | 24 | 8-19 | 280 | 500 | 64 | |
| in | 11.50 | 9.00 | 7.5 | 6.19 | 0.94 | 8-0.75 | 11.02 | 19.68 | |||
| 6" | mm | 406 | 279 | 241.5 | 216 | 25.4 | 8-22 | 360 | 656 | 113 | |
| in | 16 | 11.0 | 9.50 | 8.5 | 1.00 | 8-0.88 | 14.17 | 22.25 | |||
| 8" | mm | 495 | 343 | 298.5 | 270 | 29 | 8-22 | 450 | 660 | 190 | |
| in | 19.5 | 13.5 | 11.75 | 10.62 | 1.12 | 8-0.88 | 17.75 | 26.00 | |||
| Class | Size | L | D | Di | D2 | b | n-фd | Do | H | WT (Kg) | |
| 300Lb | 1/2" | mm | 152 | 95 | 66.5 | 35 | 15 | 4-15 | 125 | 190 | 4.5 |
| in | 5.98 | 3.74 | 2.62 | 1.38 | 0.95 | 4-0.59 | 4.92 | 7.48 | |||
| 3/4" | mm | 178 | 117 | 82.5 | 43 | 16 | 4-19 | 125 | 212 | 8 | |
| in | 7 | 4.61 | 3.25 | 1.69 | 0.62 | 4-0.75 | 4.92 | 8.35 | |||
| 1" | mm | 203 | 124 | 89 | 51 | 18 | 4-19 | 160 | 231 | 10 | |
| in | 8 | 4.9 | 3.50 | 2 | 0.71 | 4-0.75 | 6.2 | 9.1 | |||
| 1½" | mm | 229 | 156 | 114.5 | 73 | 20.7 | 4-22 | 200 | 391 | 18.5 | |
| in | 9 | 6.12 | 4.51 | 2.87 | 0.81 | 4-0.87 | 8 | 15.43 | |||
| 2" | mm | 267 | 165 | 127 | 92 | 22 | 8-19 | 200 | 406 | 37 | |
| in | 105 | 6.5 | 5 | 3.62 | 0.88 | 8-0.75 | 7.87 | 16.00 | |||
| 2½" | mm | 292 | 190 | 149 | 105 | 25 | 8-22 | 240 | 457 | 50 | |
| in | 11.5 | 7.50 | 5.88 | 4.12 | 1.00 | 8-0.88 | 9.45 | 18.00 | |||
| 3" | mm | 318 | 210 | 168.5 | 127 | 29 | 8-22 | 280 | 470 | 61 | |
| in | 1250 | 8.25 | 6.62 | 5 | 1.12 | 8-0.88 | 11.02 | 18.50 | |||
| 4" | mm | 356 | 2.54 | 200 | 157 | 32 | 8-22 | 320 | 590 | 99 | |
| in | 14.00 | 10.00 | 7.88 | 6.19 | 1.25 | 8-0.88 | 12.60 | 23.23 | |||
| 6" | mm | 444 | 318 | 270 | 216 | 37 | 12-22 | 500 | 711 | 176 | |
| in | 17.50 | 12.50 | 10.62 | 8.5 | 1.44 | 12-0.88 | 19.68 | 28.00 | |||
| 8" | mm | 559 | 381 | 330 | 270 | 41 | 12-25 | 500 | 750 | 333 | |
| in | 22.0 | 15 | 13.00 | 10.62 | 1.62 | 12-100 | 19.68 | 29.50 | |||
| Class | Size | L | D | Di | D2 | b | n-фd | Do | H | WT (Kg) | |
| 600Lb | 1/2" | mm | 165 | 95 | 66.5 | 35 | 15 | 4-15 | 160 | 285 | 6 |
| in | 6.5 | 3.74 | 2.62 | 1.38 | 0.59 | 4-0.95 | 6.2 | 11.22 | |||
| 3/4" | mm | 190 | 117.5 | 82.5 | 43 | 16 | 4-19 | 160 | 285 | 9 | |
| in | 7.48 | 4.61 | 3.25 | 1.69 | 0.62 | 4-0.75 | 6.2 | 11.22 | |||
| 1" | mm | 216 | 124 | 89 | 51 | 18 | 4-19 | 160 | 313 | 12 | |
| in | 8.5 | 4.9 | 3.5 | 2 | 0.71 | 4-0.75 | 6.2 | 12.32 | |||
| 1½" | mm | 241 | 156 | 114.5 | 73 | 23 | 4-22 | 240 | 365 | 22 | |
| in | 9.5 | 6.12 | 4.51 | 2.87 | 0.91 | 4-0.88 | 9.45 | 14.17 | |||
| 2" | mm | 292 | 165 | 127 | 92 | 25 | 8-19 | 240 | 444 | 39 | |
| in | 11.50 | 6.50 | 5.00 | 3.62 | 1.00 | 8-0.75 | 9.45 | 17.50 | |||
| 2½" | mm | 330 | 190 | 149 | 105 | 29 | 8-22 | 240 | 483 | 50 | |
| in | 13 | 7.50 | 5.88 | 4.12 | 1.12 | 8-0.08 | 9.45 | 19 | |||
| 3" | mm | 356 | 210 | 168 | 127 | 32 | 8-22 | 280 | 533 | 68 | |
| in | 14.00 | 8.25 | 6.62 | 5 | 1.25 | 8-0.88 | 11.02 | 21 | |||
| 4" | mm | 4.06 | 273 | 216 | 157 | 38.1 | 8-25 | 360 | 622 | 120 | |
| in | 16.00 | 10.75 | 8.5 | 6.19 | 1.5 | 8-1.00 | 14.17 | 24.50 | |||
| 6" | mm | 495 | 356 | 292 | 216 | 47.7 | 12-29 | 500 | 800 | 220 | |
| in | 19.50 | 14 | 11.5 | 8.5 | 1.88 | 12-1.14 | 19.68 | 31.50 | |||
| 8" | mm | 597 | 419 | 349 | 270 | 55.6 | 12-32 | 550 | 927 | 450 | |
| in | 23.50 | 16.5 | 13.75 | 10.62 | 2.19 | 12-1.25 | 21.65 | 36.50 | |||